特性
- Solid-state volatile potentiometer
- Push button controlled
- Single or Auto increment/decrement
- Fast Mode after 1s button press
- Shutdown Mode
- 32 wiper tap points
- Zero scale wiper position on power-up
- Low power CMOS
- VCC = 2.7V to 5.5V
- Terminal voltage, 0 to VCC
- Standby current, 3µA max
- RTOTAL value = 10kΩ, 50kΩ
- Packages
- 8 Ld SOIC and 10 Ld µTQFN (2.1x1.6mm)
- Pb-free (RoHS compliant)
描述
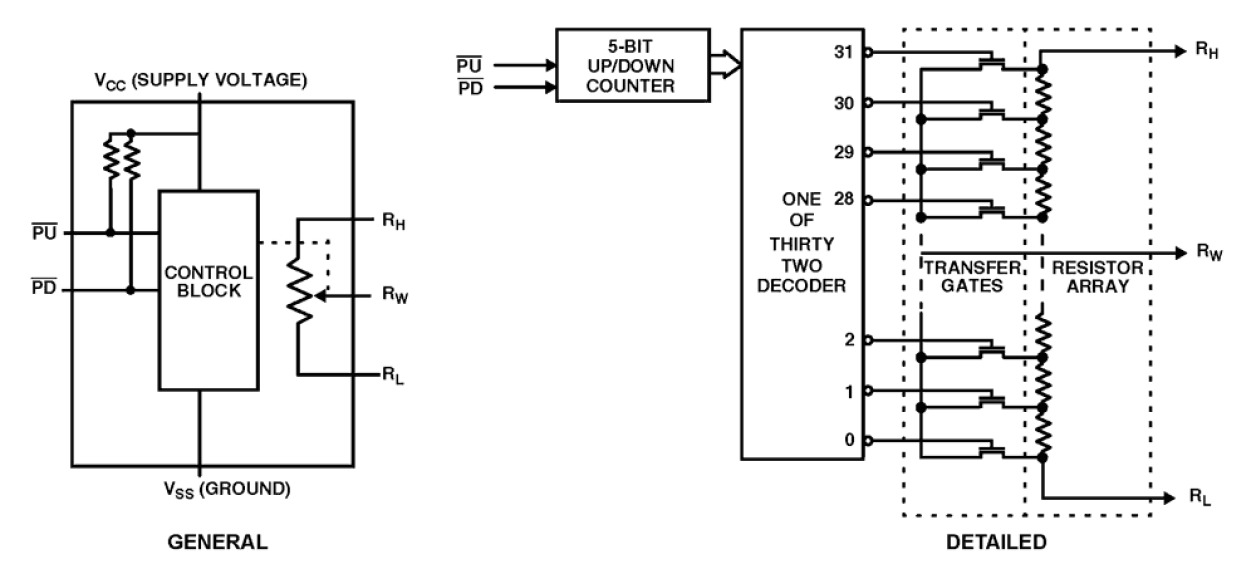
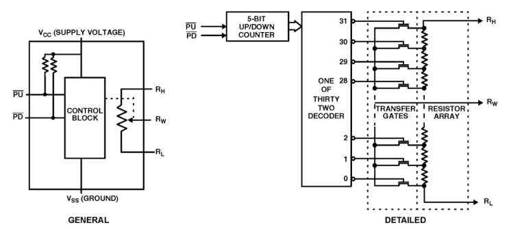
The Intersil ISL23511 is a three-terminal digitally-controlled potentiometer (XDCP) implemented by a resistor array composed of 31 resistive elements and a wiper switching network. The ISL23511 features a push button control, a shutdown mode, as well as an industry-leading µTQFN package. The push button control has individual PU and PD inputs for adjusting the wiper. To eliminate redundancy the wiper position will automatically increment or decrement if one of these inputs is held longer than one second. Forcing both PU and PD low for more than two seconds activates shutdown mode. Shutdown mode disconnects the top of the resistor chain and moves the wiper to the lowest position, minimizing power consumption. The three terminals accessing the resistor chain naturally configure the ISL23511 as a voltage divider. A rheostat is easily formed by floating an end terminal or connecting it to the wiper.
产品参数
属性 | 值 |
---|---|
Resistance Taper | Linear |
Taps (#) | 32 |
Resistance Options (kΩ) | 10 |
Channels (#) | 1 |
Interface | Pushbutton |
Memory Type | Volatile |
Supply Voltage Vcc Range | 2.7 to 5.5 |
Supply Current Icc (µA) | 0.6 |
Single Supply Voltage Range (V) | 0 - 5.5 |
Wiper Current (mA) | 3 |
Wiper Resistance (ohms) | 130 |
VL Terminal Voltage (Min) (V) | 0 |
VL Terminal Voltage (Max) (V) | 5.5 |
End-to-End Temperature Coefficient (ppm/°C) | 80 |
Middlepoint Ratiometric Tempco | 25 |
Advanced Features | Shutdown mode and auto increment |
Qualification Level | Standard |
封装选项
Pkg. Type | Pkg. Dimensions (mm) | Lead Count (#) | Pitch (mm) |
---|---|---|---|
SOICN | 4.9 x 3.9 x 0.00 | 8 | 1.3 |
应用
- Volume Control
- LED/LCD Brightness Control
- Contrast Control
- Programming Bias Voltages
- Ladder Networks
当前筛选条件