跳转到主要内容
瑞萨电子 (Renesas Electronics Corporation)

特性

  • Volatile Solid-State Potentiometer
  • I2C Serial Bus Interface
  • DCP Terminal Voltage, 2.7V to 5.5V
  • Low Tempco
  • Rheostat - 45 ppm/°C typical
  • Divider - 15 ppm/°C typical
  • 128 Wiper Tap Points
  • Wiper Resistance 70Ω typ at VCC = 3.3V
  • Low Power CMOS
  • Active Current, 200µA Max
  • Standby Current, 500nA Max
  • Available RTOTAL Values = 50kΩ, 10kΩ
  • Power on Preset to Midscale
  • Packaging
  • 6 Ld SC-70
  • Pb-Free (RoHS compliant)

描述

Support is limited to customers who have already adopted these products.

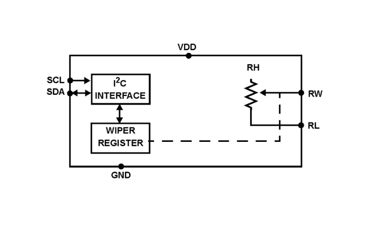
The Intersil ISL90726 is a digitally controlled potentiometer (XDCP). The device consists of a resistor array, wiper switches, and a control section. The wiper position is controlled by an I2C interface. The potentiometer is implemented by a resistor array composed of 127 resistive elements and a wiper switching network. Between each element and at either end are tap points accessible to the wiper terminal. The position of the wiper element is controlled by the SDA and SCL inputs.

应用

  • Mechanical Potentiometer Replacement
  • Transducer Adjustment of Pressure, Temperature, Position, Chemical, and Optical Sensors
  • Laser Diode and LED Biasing
  • LCD Brightness and Contrast Adjustment
  • Gain Control and Offset Adjustment
  • DDR3 Margining

当前筛选条件