跳转到主要内容
瑞萨电子 (Renesas Electronics Corporation)

特性

  • Non-volatile solid-state potentiometer
  • I2C serial interface
  • DCP terminal voltage, 0V to +13.2V
  • 128 wiper tap points - 0.8% resolution
  • Wiper position stored in nonvolatile memory and recalled on power-up
  • 127 resistive elements
  • Temperature compensated
  • Low wiper resistance 70Ω typical @ 3.3V
  • Low power CMOS
  • Standby current, 2µA @ VCC = +3.6V
  • High reliability
  • Endurance, 200,000 data changes per bit
  • Register data retention 50 years @ T < 75°C
  • RTOTAL values = 10kΩ, 50kΩ
  • 10 Ld MSOP package
  • Pb-free available (RoHS compliant)

描述

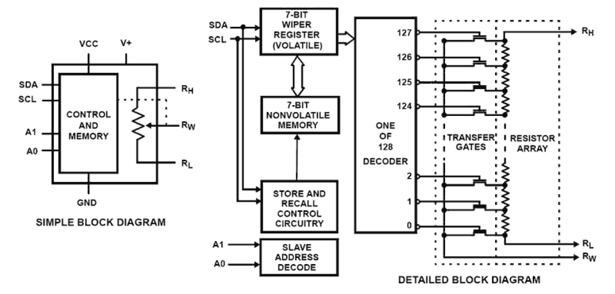
Terminal Voltage 0V to 13. 2V, 128 Taps I2C Interface The Intersil ISL95311 is a digitally controlled potentiometer (XDCP). The device consists of a resistor array, wiper switches, a control section, and nonvolatile memory. The wiper position is controlled by an I2C interface. The potentiometer is implemented by a resistor array composed of 127 resistive elements and a wiper switching network. Between each element and at either end are tap points accessible to the wiper terminal. The wiper of the potentiometer has an associated volatile Wiper Counter Register (WR) and a non-volatile Initial Value Register (IVR) that can be directly written to and read by the user. The contents of the WR controls the position of the wiper on the resistor array through the switches. At power-up, the device recalls the contents of the IVR to the corresponding WR. The device can be used as a three-terminal potentiometer or as a two-terminal variable resistor in a wide variety of applications, including:

  • LCD contrast control
  • Parameter and bias adjustments
  • Industrial and automotive control
  • Mechanical pot replacement

当前筛选条件