跳转到主要内容

特性

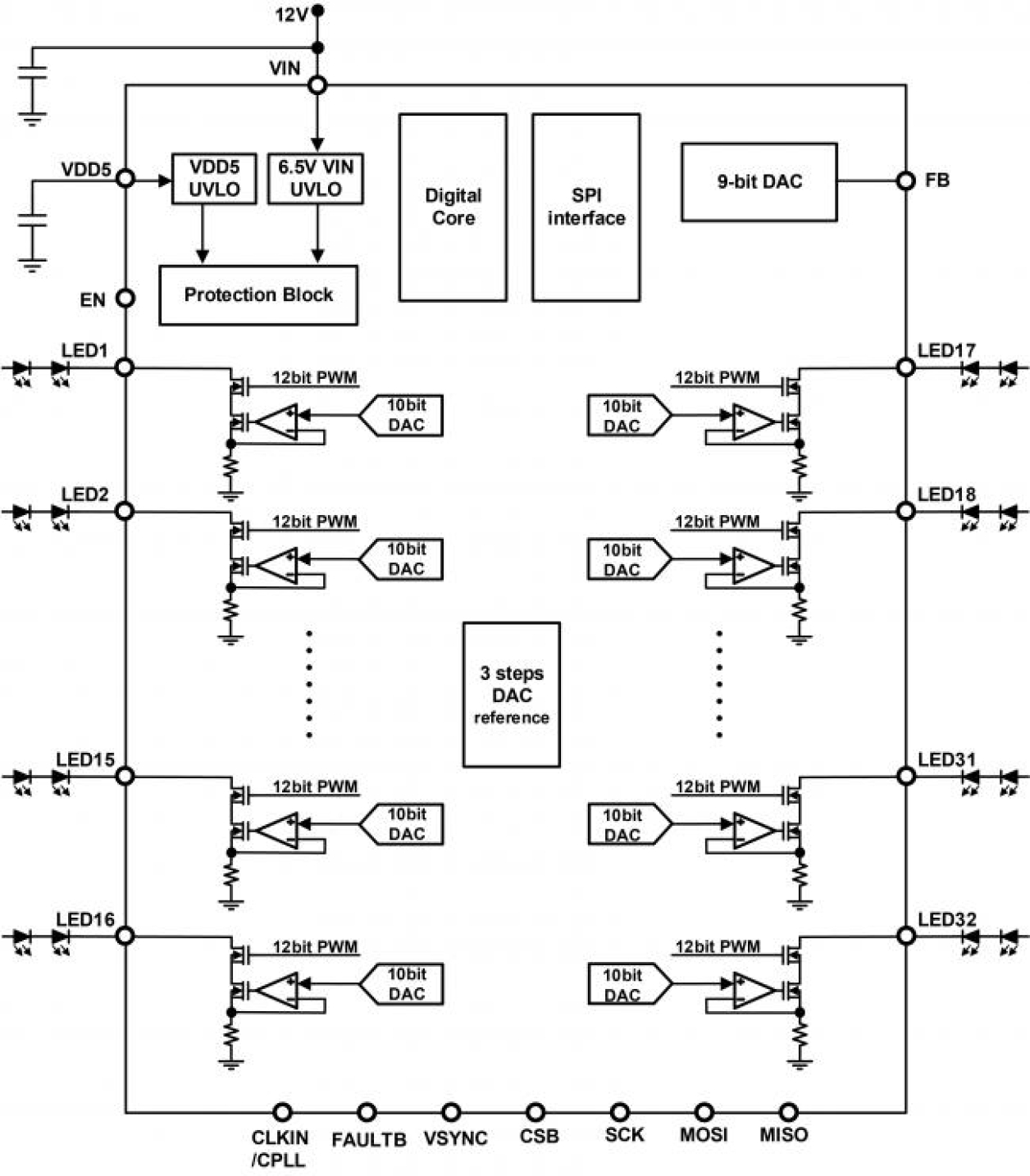
  • 32-channel LED driver with internal MOSFET current sinks
    • Internal current setting resistors – No external resistors are required
  • 65V maximum output voltage per channel
  • Patented BroadLED™ adaptive switch mode technology for high current matching at maximum efficiency
    • Reduces power dissipation requirements
    • Enables the use of cheaper, loosely binned LED arrays for lower BOM cost
  • Supports 12V (9V to 16V) or 5V supply voltage operation
  • AnyMode™ comprehensive dimming control improves picture quality
    • 12-bit PWM dimming, 10-bit independent analog dimming
    • Head, tail, center mode PWM alignments to reduce motion blur
    • PWM dimming range: 0% to 99.9%
    • Programmable slew rate – Better EMI control
  • Comprehensive protection features:
    • Individual LED short protection
    • Individual LED open detection
    • Over-temperature protection
    • Microcontroller interrupt interface
  • High accuracy internal current setting
    • 66mA per channel max; supports 2-channel grouping
  • SPI daisy-chain interface simplifies design when supporting more than 16 LED strings
  • 3 SPI communication protection modes in one LED driver
  • Internal PLL ensures jitter-free operation even with a noisy VSYNC signal

描述

The iW7039 LED driver for LCD backlighting integrates 32 precision current sinks with advanced digital control technology to improve brightness control in direct backlit, High Dynamic Range (HDR) displays. The digital control block uses Renesas' BroadLED™ adaptive switch technology, improving thermal performance by optimizing the voltage drop across each LED string while enabling precision matching with unbinned LEDs.

The iW7039 also uses Renesas' patented AnyMode™ dimming, which offers comprehensive, simple and flexible options to improve HDR display picture quality. It allows continuous PWM signals or very narrow PWM burst signals that are fully synchronized to the video frame at the same or higher frequency. The PWM duty cycle can be updated in each video frame and with user-configurable tail or head delays. This provides more options to reduce motion blur and improve the contrast ratio.

AnyMode dimming also helps reduce motion blur caused by the Human Visual System (HVS) by generating high intensity, short duration PWM pulses. This results in faster fade out and reduces the physiological afterimage effects of the HVS, important for automobile dashboard displays.

产品参数

属性
Channels (#) 32
LEDs (#) 100
Total Current for DC/DC Lighting (mA) 2112
Output Current Max/Channel (mA) 66
Backlight for LCD Size (inches) 29 - 85
Brightness Control Yes
Input Voltage (Min) (V) 4.5
Input Voltage (Max) (V) 16
Input Voltage Range (V) 4.5 - 16
Integrated Diode No
Interface SPI
Fault Switch No
Over Voltage Protection No
Peak Efficiency (%) 90
Topology [Rail 1] Inductor Boost

封装选项

Pkg. Type Pkg. Dimensions (mm) Lead Count (#) Pitch (mm)
QFN-48L 7 x 7 48 0.5

应用方框图

Dimming System for Monitors Block Diagram
显示器调光系统
用于显示器的调光系统,具有 QR 反激式、DC/DC 降压、LDO 和 MCU,可实现精确的背光控制。
Mini-LED TV Backlight Unit - Large Matrix Block Diagram
Mini-LED 电视背光装置 - 大型矩阵
采用了基于 MPU 的高效 LED 背光技术,具有动态功率控制功能,可确保最佳的电视性能。
Automotive Cockpit Solution with Haptics Block Diagram
支持触觉反馈的汽车座舱系统
先进的座舱系统,配备新一代触觉反馈技术、BroadLED 驱动器和 PMIC。

其他应用

  • Direct backlighting for HDR LCD TV and monitor displays

当前筛选条件