| Pkg. Type: | CLCC |
| Pkg. Code: | CB6 |
| Lead Count (#): | 6 |
| Pkg. Dimensions (mm): | 7.5 x 5.0 x 3.0 |
| Pitch (mm): | 2.54 |
| Pb (Lead) Free | Yes |
| Moisture Sensitivity Level (MSL) | 1 |
| ECCN (US) | |
| HTS (US) |
| Pkg. Type | CLCC |
| Lead Count (#) | 6 |
| Pb (Lead) Free | Yes |
| Carrier Type | Tube |
| Abs. Pull Range Min. (± PPM) | 120 |
| Feedback Input | No |
| Freq. Stability Total (± PPM) | 100 |
| Length (mm) | 7.5 |
| MOQ | 69 |
| Moisture Sensitivity Level (MSL) | 1 |
| Output Freq Range (MHz) | 644.531 - 644.531, 693.483 - 693.483 |
| Output Type | LVPECL |
| Outputs (#) | 1 |
| Package Area (mm²) | 37.5 |
| Pb Free Category | e4 Au |
| Phase Jitter Typ RMS (ps) | 0.16 |
| Pitch (mm) | 2.54 |
| Pkg. Dimensions (mm) | 7.5 x 5.0 x 3.0 |
| Qty. per Carrier (#) | 64 |
| Qty. per Reel (#) | 0 |
| Requires Terms and Conditions | Does not require acceptance of Terms and Conditions |
| Supply Voltage (V) | 3.3 - 3.3 |
| Tape & Reel | No |
| Temp. Range (°C) | -40 to 85°C |
| Thickness (mm) | 3 |
| VCO Gain Typ. (ppm/V) | 400 |
| Width (mm) | 5 |
| 已发布 | No |
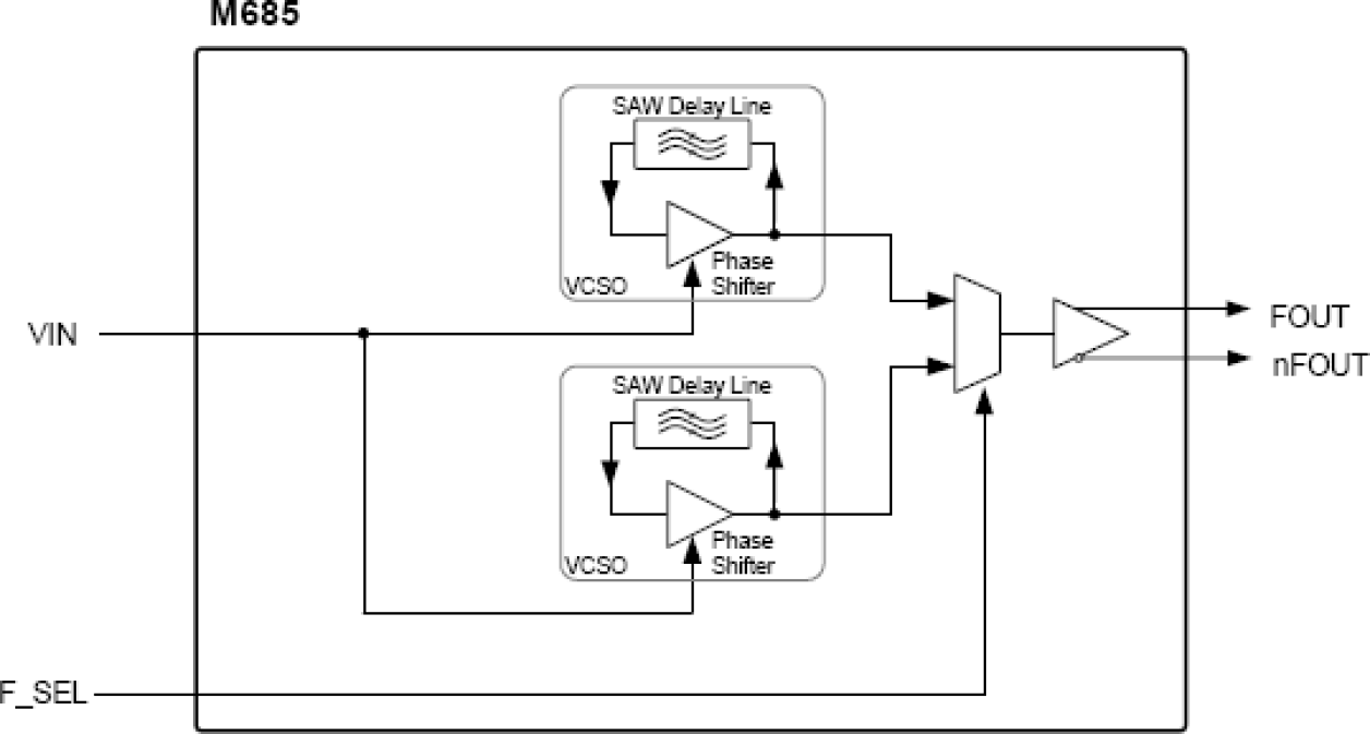
The M685 is a dual SAW, selectable frequency VCSO frequency source for low-jitter clock generation. An integrated SAW (surface acoustic wave) delay line implements the high-Q VCO (voltage controlled oscillator) function, which results in low output phase noise and very low jitter. The M685-01 is available in a range of center frequencies from 125 to 177 MHz. The M685-02 provides 500 to 708 MHz. Guaranteed minimum pull-range of ±120 ppm meets GbE requirements. (It also fully satisfies ±50 ppm minimum pull-range specification commonly required.) Industry-standard Kvco (VCO Gain) provides full replacement compatibility. The M685 is well suited for phase-locked loop implementations, clock and data recovery circuits, and other timing applications in telecom and optical fiber networking systems (e.g., OC-48).