特性
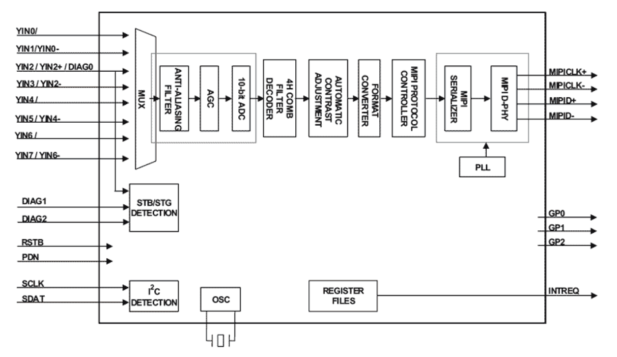
- Analog Video Decoder- Software selectable analog input control allows for combinations of single-ended CVBS, and differential CVBS
- Built-in analog anti-alias filter
- Two 10-bit ADCs and analog clamping circuit
- Fully programmable static gain or automatic gain control for the Y channel
- Programmable white peak control for the Y channel
- 4-H adaptive comb filter Y/C separation
- PAL delay line for color phase error correction
- Digital subcarrier PLL for accurate color decoding
- Digital horizontal PLL for synchronization processing and pixel sampling
- Advanced synchronization processing and sync detection for handling nonstandard and weak signal
- Automatic color control and color killer
- Chroma IF compensation
- Programmable output cropping
 
- Video Processing- Automatic Contrast Adjustment (ACA)
- RGB565
- Programmable hue, brightness, saturation, contrast and sharpness.
- Image enhancement with peaking and CTI
 
- MIPI Output- MIPI 1.1 compliant unidirectional output format
- YUV 422 or RGB565 output format
 
- Digital Output- Output voltage 1.8V to 3.3V with 3.3V tolerance
 
- Miscellaneous- Low power consumption: 100mW typical
- Power save and Power-down mode
- Short-to-battery detection test
- Short-to-ground detection test
- Two-wire MPU serial bus interface
- Supports real time control interface
- Single 27MHz crystal for all operations
- Supports 24.54MHz and 29.5MHz crystal for high resolution square pixel format decoding
- 3.3V tolerant I/O
- 1.8V/3.3V power supply
- 32 Ld QFN (WQFN with wettable flanks)
- TW9992AT-NA1-GE is AEC-Q100 qualified
 
描述
The TW9992 is a low power NTSC/PAL analog video decoder that is designed for automotive applications. It supports single-ended, differential and pseudo differential composite video inputs. Integrated short-to-battery and short-to-ground detection, advanced image enhancement capabilities such as the programmable Automatic Contrast Adjustment (ACA) and the MIPI-CSI2 output interface make the TW9992 an ideal solution for demanding automotive camera applications.
产品参数
| 属性 | 值 | 
|---|---|
| Channels per device (#) | 1 | 
| Inputs (#) | 8 | 
| Output Format | D1 | 
| Analog Output | No | 
| Comb Filter | 2D | 
| Interface | MIPI-CSI2 v1.1 | 
| Video DAC | No | 
| Qualification Level | Automotive | 
当前筛选条件
加载中
     
