特性
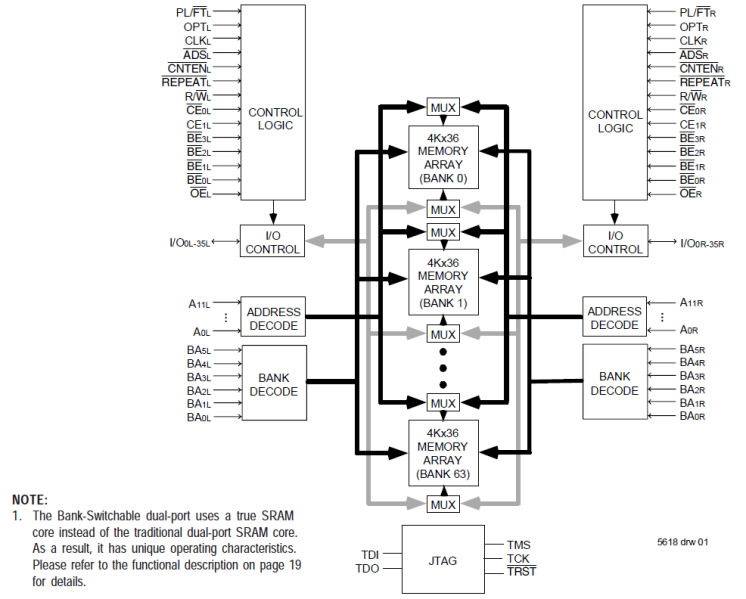
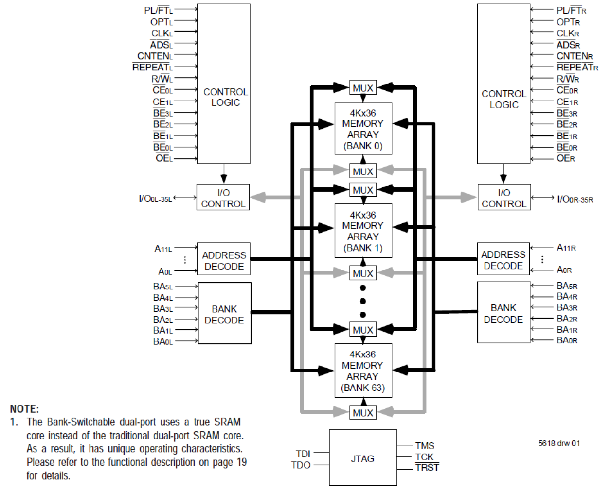
- Bank access controlled via bank address pins
- Selectable Pipelined or Flow-Through output mode
- Counter enable and repeat features
- Dual chip enables allow for depth expansion without additional logic
- Full synchronous operation on both ports
- Separate byte controls for multiplexed bus and bus matching compatibility
- LVTTL- compatible, 3.3V (±150mV) power supply for core
- LVTTL compatible, selectable 3.3V (±150mV) or 2.5V (±100mV) power supply for I/Os and control signals on each port
- Available in a 208-pin PQFP, 208-pin fpBGA, and 256-pin BGA packages
- Includes JTAG functionality
- Industrial temperature range (-40C to +85C) is available
描述
The 70V7519 is a high-speed 256K x 36 (9Mbit) synchronous Bank-Switchable Dual-Ported SRAM is organized into 64 independent 4Kx36 banks and has two independent ports with separate control, address, and I/O pins for each port, allowing each port to access any 4Kx36 memory block not already accessed by the other port. An automatic power down feature, controlled by CE0 and CE1, permits the on-chip circuitry of each port to enter a very low standby power mode.
产品参数
| 属性 | 值 |
|---|---|
| Core Voltage (V) | 3.3 |
| Bus Width (bits) | 36 |
| Density (Kb) | 9216 |
| Pkg. Code | BCG256 |
| Interface | Sync |
| I/O Type | 3.3 V LVTTL, 2.5 V LVTTL |
| I/O Frequency (MHz) | 200 - 200 |
| Temp. Range (°C) | 0 to 70°C |
| Architecture | BankSwitchable |
| Organization | 256K x 36 |
| Function | JTAG |
| Output Type | Flowthrough, Pipelined |
封装选项
| Pkg. Type | Pkg. Dimensions (mm) | Lead Count (#) | Pitch (mm) |
|---|---|---|---|
| CABGA | 17.0 x 17.0 x 1.4 | 256 | 1 |
当前筛选条件
加载中