| CAD 模型: | View CAD Model |
| Pkg. Type: | PBGA |
| Pkg. Code: | BB240 |
| Lead Count (#): | 240 |
| Pkg. Dimensions (mm): | 19.0 x 19.0 x 1.76 |
| Pitch (mm): | 1 |
| Pb (Lead) Free | No |
| Moisture Sensitivity Level (MSL) | 3 |
| ECCN (US) | |
| HTS (US) |
| Lead Count (#) | 240 |
| Pb (Lead) Free | No |
| Carrier Type | Tray |
| Architecture | Uni-directional |
| Bus Width (bits) | 36 |
| Core Voltage (V) | 2.5 |
| Density (Kb) | 18432 |
| Family Name | TeraSync |
| Function | JTAG, Mark & Retransmit |
| I/O Frequency (MHz) | 200 - 200 |
| I/O Type | 1.5 V HSTL, 2.5 V LVTTL, 3.3 V LVTTL |
| Interface | Synchronous |
| Length (mm) | 19 |
| MOQ | 20 |
| Moisture Sensitivity Level (MSL) | 3 |
| Organization | 512K x 36 |
| Package Area (mm²) | 361 |
| Pb Free Category | e0 |
| Pitch (mm) | 1 |
| Pkg. Dimensions (mm) | 19.0 x 19.0 x 1.76 |
| Pkg. Type | PBGA |
| Qty. per Carrier (#) | 84 |
| Qty. per Reel (#) | 0 |
| Requires Terms and Conditions | Does not require acceptance of Terms and Conditions |
| Tape & Reel | No |
| Temp. Range (°C) | 0 to 70°C |
| Thickness (mm) | 1.76 |
| Width (mm) | 19 |
| 已发布 | No |
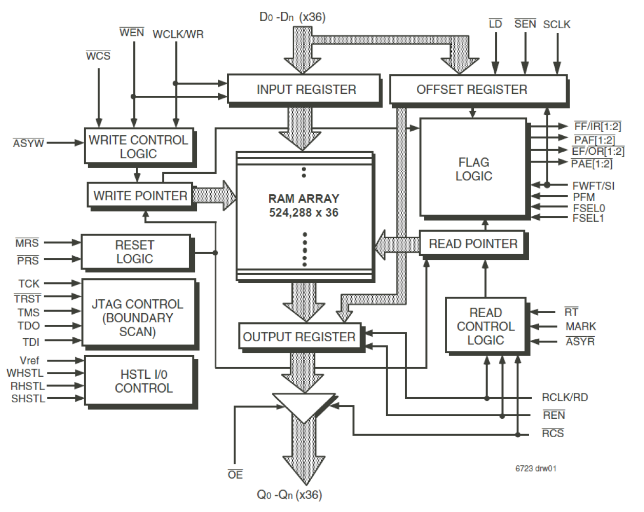
The 72T36135M is a 512K x 36 TeraSync 2.5V FIFO memory with clocked read and write controls and a wide extended x 36 bus to allow ample data flow. TeraSync FIFOs are particularly appropriate for network, video, telecommunications, data communications and other applications that need to buffer large amounts of data at very high performance. There are two possible timing modes of operation with these devices: IDT Standard mode and First Word Fall Through mode.