跳转到主要内容
瑞萨电子 (Renesas Electronics Corporation)

特性

  • 内置充电泵
  • 3.3V 兼容逻辑接口
  • 低待机电流
  • 短路保护
    过电流检测停机
    过载检测功率限制保护(功率限制:带增量 Tch 控制的电流限制)
    绝对通道超温检测停机
  • 内置诊断功能
    比例负载电流感应
    负载异常时定义的故障信号
  • 通过自开启实现反向电池保护
  • 接地失效保护
  • 欠压锁定
  • 电感应负载关闭时的有源箝位操作
  • 通过 AEC 认证
  • 符合 RoHS 标准

描述

系列:
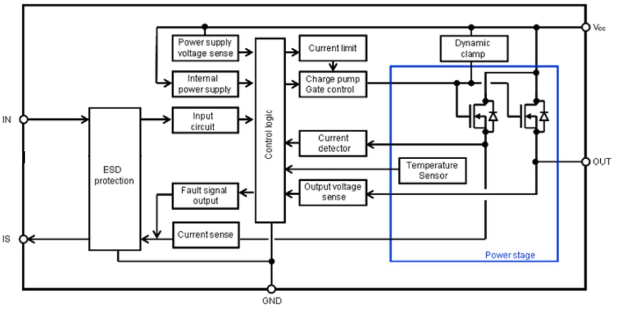
RAJ280002 是一款嵌入 TO263-7 封装的 1.6mΩ 单通道智能电源器件 (IPD)。它是带有充电泵、具有比例负载电流感应的诊断反馈以及嵌入式保护功能的 N 通道高侧开关 该系列包括多达 4 种器件,具体取决于通路电阻,电流驱动和电压驱动之间的输入接口组合。
可扩展性:
多种通路电阻和标准化的引脚封装相结合,为用户根据目标负载设计单元提供了高度的灵活性。
稳健性:
由于先进的保护方法,RAJ280002 实现了高可靠性,可防止长期和反复的短路条件。

产品参数

属性
FunctionHigh Current Operation
RON (mohm) typ. @ Tj = 25 °C (mohm)1.6
Channels per device (#)1

封装选项

Pkg. TypePkg. Dimensions (mm)Lead Count (#)
MP-25ZT10 x 9 x 4.98

应用方框图

Wireless EV Battery Management System Block Diagram
无线 EV 电池管理系统
瑞萨电子的无线 BMS 无需使用线束,提高了灵活性,并采用低功耗蓝牙技术实现了标准化设计。
Power Distribution Box Block Diagram
固态汽车电力分配模块
固态电源模块通过 IPD 保护和控制实现安全、紧凑的汽车网络。
Automotive Battery Management System (BMS) Block Diagram
标准 EV 电池管理系统
精准、ASIL-D 认证的 EV BMS,具有低 BOM 成本、电芯均衡功能和长期电池性能保障。

当前筛选条件