跳转到主要内容

特性

  • Read Back Protection (Read Lock)
  • Power Supply: 2.5V (±8%) to 5V (±10%)
  • Operating Temperature Range: -40°C to 85°C
  • RoHS-Compliant/Halogen-Free
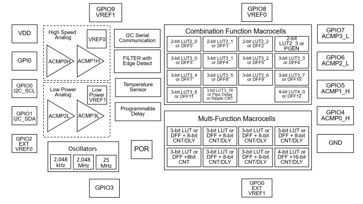
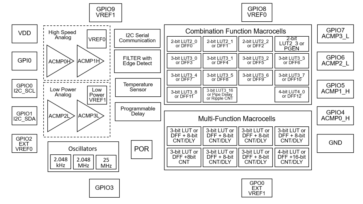
  • Macrocells Overview
    • Two High-Speed General-Purpose Analog Comparators (ACMPxH)
    • Two Low-Power General-Purpose Analog Comparators (ACMPxL)
    • Two Voltage References (Vref)
      • Two Vref Outputs
    • Fifteen Combination Function Macrocells
      • Three Selectable DFF/Latch or 2-bit LUTs
      • One Selectable Programmable Pattern Generator or 2-bit LUT
      • Nine Selectable DFF/Latch or 3-bit LUTs
      • One Selectable Pipe Delay or Ripple Counter or 3-bit LUT
      • One Selectable DFF/Latch or 4-bit LUTs
    • Eight Multi-Function Macrocells
      • Seven Selectable DFF/Latch or 3-bit LUTs + 8-bit Delay/Counters
      • One Selectable DFF/Latch or 4-bit LUT + 16-bit Delay/Counter
    • Serial Communications: I2C Protocol Interface
    • Programmable Delay with Edge Detector Output
    • Deglitch Filter or Edge Detector
    • Three Oscillators (OSC)
      • 2.048kHz Oscillator
      • 2.048MHz Oscillator
      • 25MHz Oscillator
    • Analog Temperature Sensor
    • Power-On Reset (POR)

描述

The SLG46855 programmable mixed-signal matrix IC provides a small, low-power component for commonly used mixed-signal functions. The users creates their circuit design by programming the one-time programmable (OTP) non-volatile memory (NVM) to configure the interconnect logic, the IO pins, and the macrocells of the SLG46855. This highly versatile device allows for a wide variety of mixed-signal functions to be designed within a very small, low-power single integrated circuit.

此为出厂可配置设备。
试用自定义部件配置工具

产品参数

属性
GPIOs (#) 12
ACMP Channels (#) 4
CNT/DLY (Max) (#) 8
LUTs (Max) (#) 23
DFF (Max) (#) 21
Pipe Delay 16-stage
# of Programable Delays (#) 1
Oscillator Type RC OSC, LF OSC, Ring OSC
Temperature Sensor (ch) (#) 1
Interface I2C
Memory Type OTP
Temp. Range (°C) -40 to +85°C

封装选项

Pkg. Type Pkg. Dimensions (mm) Lead Count (#) Pitch (mm)
TQFN 1.6 x 2.0 14 0.4

应用方框图

Interactive block diagram an industrial motor control system features an MPU and MCU for mutual monitoring, power supply ICs, and delta-sigma modulators.
具备工业网络和功能性安全支持的电机控制系统
该电机控制系统集成了 MPU 和 MCU,可实现高效的工业电机控制和联网。
The all-in-one smart home controller block diagram combines multiple radio PHYs, a cost-optimized MPU, and versatile connectivity.
支持多物理层(PHY)的智能家居控制器
一体化智能家居网关,融汇多标准 PHY、直观控制和面向未来的设计。
HMI system block diagram featuring high-performance RZ MPU with different display options and Wi-Fi, Bluetooth LE, and NFC connectivity.
高性能人机界面(HMI)系统
多功能模块系统(SoM),用于驱动各种人机界面功能。

其他应用

  • Personal Computers and Servers
  • PC Peripherals
  • Consumer Electronics
  • Data Communications Equipment
  • Handheld and Portable Electronics
  • Smartphones and Fitness Bands
  • Notebook and Tablet PCs
此为出厂可配置设备。
试用自定义部件配置工具

当前筛选条件