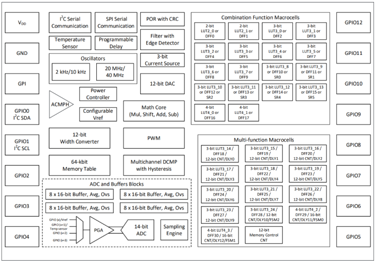
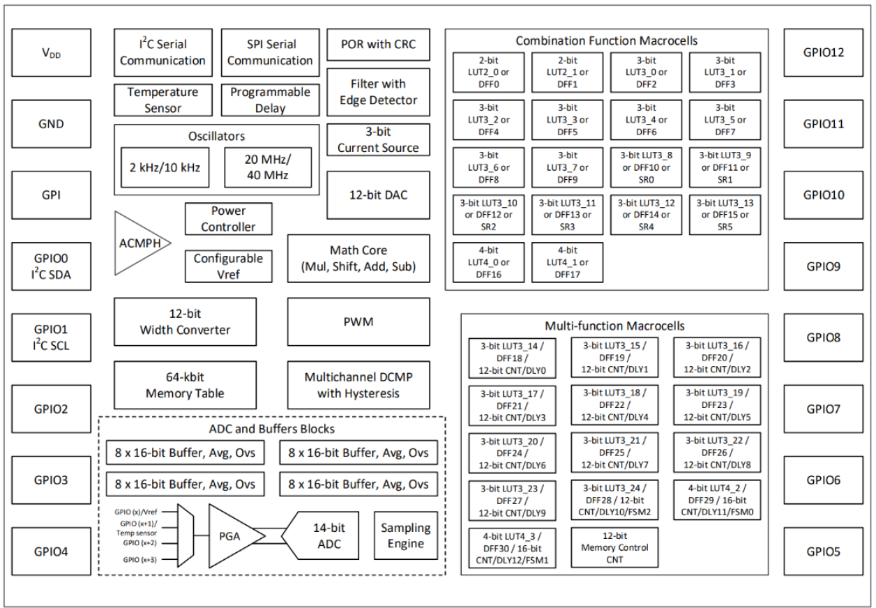
特性
- SAR ADC
- 可选分辨率: 14 位、12 位、10 位、8 位
- 8 位模式下最高可达 2.35Msps
- 采样多达 4 个模拟通道
- 输出选项:并行、I2C、SPI
- 可编程增益放大器
- 增益范围: 1x 至 64x
- 支持差分和单端模式
- 数学核心
- 乘法器、加法器、减法器、移位器
- 四个独立的数据缓冲区
- 缓冲器长度高达 8 个 16 位字
- 模式:过采样、移动平均、计数器捕获
- 内存表宏单元
- 4096 字 x 12 位
- 模式:全量程或双量程
- 支持 ADC 数据线性化或自定义 y = F(x)
- ADDR-to-DATA/存储模式
- 16 位多通道数字比较器 (MDCMP)
- 多达 4 个独立通道
- 静态或动态阈值
- 每个通道的迟滞选项
- PWM 宏单元
- 12 位分辨率
- 动态占空比变化(高达 4096 值)
- 宽度转换器宏单元
- 12 位并行数据输出
- 可选输出:12×1 位、6×2 位、3×4 位
- 12 位 DAC
- 333ksps 数模转换器
- 可选电流源
- 集成电压基准 (VREF)
- 高速模拟比较器
- 可配置迟滞和参考
- 组合功能宏单元(共 18 个)
- 2×2 位 LUT 或 DFF/LATCH
- 8×3 位 LUT 或 DFF/LATCH,带设置/复位
- 6×DFF/LATCH 或 3 位 LUT 或移位寄存器
- 2×4 位 LUT 或 DFF/LATCH,带设置/复位
- 多功能宏单元(共 14 个)
- 10× DFF/LATCH 或 3 位 LUT + 12 位延迟/计数器
- 2× DFF/LATCH 或 4 位 LUT + 16 位延迟/计数器/FSM
- 1× DFF/LATCH 或 3 位 LUT + 12 位延迟/计数器/FSM
- 12 位内存控制上/下计数器
- 通信接口
- I2C 接口
- SPI 接口
- 逻辑和时序
- 具有边沿检测器输出的可编程延迟
- 窄脉冲滤波器或边缘检测器
- 振荡器 (OSC)
- 2kHz / 10kHz
- 20MHz / 40MHz
- 模拟温度传感器
- 带 CRC 的上电复位 (POR)
- 回读保护(Read Lock)
- 电源
- 1.71V 至 3.6V
- 工作温度
- -40°C 至 +105°C
- 合规性
- 符合 RoHS 规范 / 无卤素
- 可用封装
- 16 引脚 STQFN:2.0mm × 2.0mm × 0.55mm,0.4mm 间距
描述
SLG47011-E 是一款专为实现常用模数转换和混合信号功能而设计的小型低功耗解决方案。 一个灵活的数据采集系统与可配置逻辑结合使用,提供了一种以最低成本实现各种功能的方法。 用户可以通过对一次性可编程 (OTP) 非易失性存储器 (NVM) 进行编程,配置互连逻辑、宏单元和 IO 引脚,实现灵活的电路设计。
产品参数
| 属性 | 值 |
|---|---|
| GPIOs (#) | 14 |
| Special Features | ADC (14-bit, SAR), DAC (12-bit), PGA 1x-64x, Math Core, 4k x 12-bit RAM, 1x PWM |
| ACMP Channels (#) | 1 |
| DCMP | 1 |
| CNT/DLY (Max) (#) | 15 |
| Look-up Table (LUTs) | 31 |
| D Flip-flops (DFFs) (#) | 31 |
| Pipe Delay | 6x 8-bit Shift Regs |
| # of Programable Delays (#) | 1 |
| Oscillator Type | LF OSC, Ring OSC |
| Temperature Sensor (ch) (#) | 1 |
| Temp. Range (°C) | -40 to +105°C |
| Interface | I2C, SPI |
| Memory Type | OTP |
封装选项
| Pkg. Type | Pkg. Dimensions (mm) | Lead Count (#) | Pitch (mm) |
|---|---|---|---|
| TQFN | 2.0 x 2.0 | 16 | 0.4 |
产品对比
| SLG47011-E | SLG47004 | SLG47003 | SLG47011 | |
| Special Features | 1x PWM, 4k x 12-bit RAM, ADC (14-bit, SAR), DAC (12-bit), Math Core, PGA 1x-64x | 2-Ch Auto-Trim, 2x An Switch, 2x Op Amp or 1x In-Amp, 2x Rheostat, EEPROM | 2x Op Amps, 2x Rheostats, Analog Switch | 1x-64x, 4k x 12-bit RAM, ADC (14-bit, SAR), DAC (12-bit), MathCore, PGA, PWM |
| GPIOs (#) | 14 | 8 | 15 | 14 |
| Memory Type | OTP | MTP | OTP | OTP |
| Lead Count (#) | 16 | 24 | 24 | 16 |
| Pkg. Dimensions (mm) | 2.0 x 2.0 | 3.0 x 3.0 | 3.0 x 3.0 | 2.0 x 2.0 |
| Temp. Range (°C) | -40 to +105°C | -40 to +85°C | -40 to +85°C | -40 to +85°C |
应用
- 消费电子
- 手持式和便携式电子产品
- 工业自动化和过程控制
- 个人计算机和服务器
- 电脑周边设备
- 电池电压和电流监控
- 电源监视器
当前筛选条件
筛选
软件与工具
样例程序
模拟模型
The low-cost, low-power SLG47011 is an AnalogPAK™ programmable mixed-signal matrix with a 14-bit ADC and analog features.
This video showcases a Power Meter Demo Board using the AnalogPAK SLG47011 IC. It highlights how the solution measures current, voltage, power, and temperature. For full details and the design file, refer to the complete application note.
Related Resources
This video provides a demo of the SLG47011 AnalogPAK™ HART Modem Demonstration Board, highlighting its features and ease of use. The board includes both a Host Device and a Field Device to simulate a master controller and a remote sensor. For full details and the design file, see the application note.
Related Resources
Renesas GreenPAK ICs integrate analog and digital functions on one chip, reducing cost, size, and power. Design custom ICs in minutes with GreenPAK Designer for faster, flexible production.