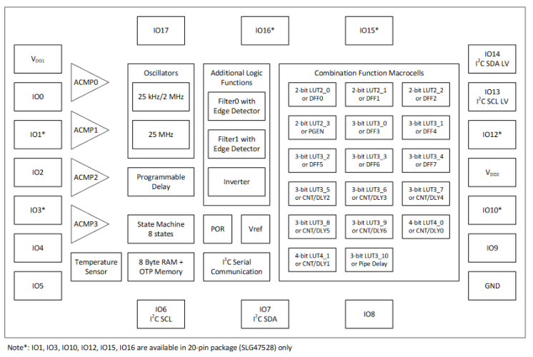
特性
- 4 个模拟比较器 (ACMP)
- 2 个基准电压源 (VREF)
- 19 个组合功能宏单元
- 3 个可选 DFF/LATCH 或 2 位 LUT
- 1 个可选的连续 DFF/LATCH 或 3 位 LUT
- 4 个可选 DFF/LATCH 或 3 位 LUT
- 1 个可选管道延迟或 3 位 LUT
- 1 个可选可编程函数发生器或 2 位 LUT
- 5 个 8 位延迟/计数器或 3 位 LUT
- 2 个 16 位延迟/计数器或 4 位 LUT
- 2 个带边缘检测器的去毛刺滤波器
- 状态机
- 8个状态
- 来自状态转换的灵活输入逻辑
- 串行通信
- 符合 I2C 协议
- 管道延迟 – 16 级/3 路输出(组合功能宏单元的一部分)
- 可编程延迟
- 附加逻辑功能
- 1 个逆变器
- 2 个振荡器 (OSC)
- 可配置 25kHz/2MHz
- 25MHz RC振荡器
- 上电复位 (POR)
- 8 字节 RAM + OTP 用户存储器
- 可通过 I2C 读取和写的 RAM 内存空间
- 从 OTP 传输的用户定义初始值
- 回读保护(读锁定)
- 宽范围电源
- 1.71V 至 5.5VV DD1
- 0.95V 至 1.98VV DD2 (VDD2 ≤ VDD1)
- 工作温度范围:-40°C 至 85°C
- 符合 RoHS 标准/无卤素
- 可用封装:20引脚STQFN:2.0mm x 3.0mm x 0.55mm,0.4mm 间距
描述
SLG47528 GreenPAK™ 可编程混合信号矩阵为常用的混合信号功能提供了一个小型、低功耗组件。 用户通过对一次性可编程 (OTP) 非易失性存储器 (NVM) 进行编程来配置互连逻辑、IO 引脚和SLG47528的宏单元,从而创建电路设计。 这种高度通用的器件允许在非常细小而低功耗的单个集成电路中设计各种混合信号功能。
产品参数
| 属性 | 值 |
|---|---|
| Nominal VDD | 1.71 - 5.5 |
| VDD2 (V) | 0.95 - 1.98 |
| GPIOs (#) | 17 |
| Special Features | ASM (8 states) |
| ACMP Channels (#) | 4 |
| CNT/DLY (Max) (#) | 7 |
| LUTs (Max) (#) | 17 |
| D Flip-flops (DFFs) (#) | 8 |
| Pipe Delay | 16-stage |
| # of Programable Delays (#) | 1 |
| Oscillator Type | Conf. OSC, Ring OSC |
| Temperature Sensor (ch) (#) | 1 |
| Interface | I2C |
| Memory Type | OTP |
| Temp. Range (°C) | -40 to +85°C |
封装选项
| Pkg. Type | Pkg. Dimensions (mm) | Lead Count (#) | Pitch (mm) |
|---|---|---|---|
| TQFN | 2.0 x 3.0 | 20 | 0.4 |
应用方框图
| 智能无线挂钟 小型且低成本的时钟设计,具有数字平滑过渡和自动亮度调节功能。 |
其他应用
- 个人计算机和服务器
- PC 外设
- 消费电子产品
- 数据通信设备
- 手持式和便携式电子设备
当前筛选条件
加载中
筛选
软件与工具
样例程序
模拟模型
Renesas GreenPAK ICs integrate analog and digital functions on one chip, reducing cost, size, and power. Design custom ICs in minutes with GreenPAK Designer for faster, flexible production.