特性
- 超低抖动性能:典型时钟频率312.5MHz 的均方根抖动(12KHz-20MHz)性能可低至 50fs。
- 多样化的电源选择:可使用单路 1.8V 电源轻松运行设备,同时可兼容SCL/SDA 3.3V 电平接口(只需要 VDDD33_SERIAL 管脚使用用 3.3V电源)。
- 支持 DCO 模式:利用 DCO 模式可获得更多的灵活性与效率优势。
- 启动方式灵活可配:通过外部 EEPROM 的支持,可在启动阶段自动载入配置,从而简化配置流程。
- 灵活的通信接口:可在 SPI 或 I2C 通信协议之间自由选择。
- 多种 OTP 配置:启动阶段可支持多达四种OTP 配置中自动载入。
描述
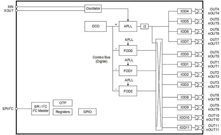
RC223xxA(RC22308A 和 RC22312A)是一款高性能、低功耗的小型时钟发生器,来自瑞萨电子的高性能 FemtoClock™ 3 系列。 它支持 100G/200G/400G/800G SerDes 数据中心设备参考时钟应用的超低抖动时钟。 它还配备了三个小数输出分频器 (FOD),支持多达四个频率域。
此为出厂可配置设备。
试用自定义部件配置工具。
试用自定义部件配置工具。
产品参数
| 属性 | 值 |
|---|---|
| Diff. Outputs | 8 |
| App Jitter Compliance | 112G SerDes Jitter, PCIe Gen 6 |
| Outputs (#) | 8 |
| Output Type | HCSL, LVDS, LVCMOS |
| Output Freq Range (MHz) | 0.001 - 1000 |
| Input Freq (MHz) | 0.001 - 1000 |
| Inputs (#) | 4 |
| Input Type | Crystal, LVPECL, HCSL, LVDS, CML, LVCMOS |
| Output Banks (#) | 8 |
| Core Voltage (V) | 1.8V, 3.3V |
| Output Voltage (V) | 1.8 |
| Product Category | FemtoClock 3, Ultra-Low Jitter Clocks (<300 fs RMS), Extreme Performance Clocks (<150 fs RMS), Network Synchronization, PDH and SONET/SDH Clocks, Programmable Clocks |
| 105°C Max. Case Temp. | 0 |
| Selection Criteria | <150 fs RM |
封装选项
| Pkg. Type | Pkg. Dimensions (mm) | Lead Count (#) | Pitch (mm) |
|---|---|---|---|
| VFQFPN | 7.0 x 7.0 x 0.9 | 48 | 0.5 |
应用
- 56G/112G 脉冲幅度调制 (PAM4) SerDes 时钟合成
- 100/200/400/800/1600 Gbps 以太网 PHY 时钟合成
- 数据中心ToR与leaf交换机
- 以太网交换机与路由器
- 医疗图像系统
- 测试和测量