特性
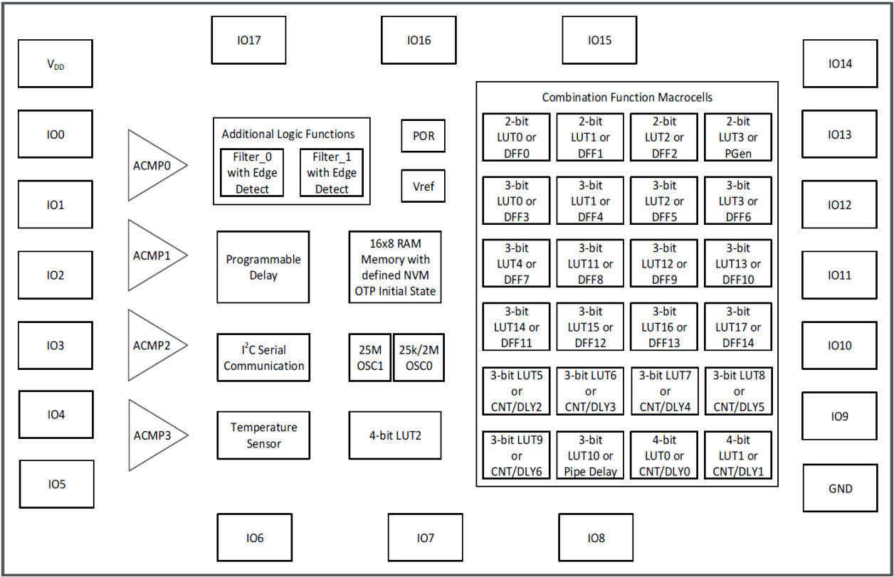
- 4 个模拟比较器(ACMP)
- 2 个电压基准(VREF)
- 26 个组合功能宏单元
- 3 个可选 DFF/LATCH 或 2 位 LUT
- 12 个可选 DFF/LATCH 或 3 位 LUT
- 1 个可选管道延迟或 3 位 LUT
- 1 个可选的可编程码型发生器或 2 位 LUT
- 5 个 8 位延迟/计数器或 3 位 LUT
- 2 个 16 位延迟/计数器或 4 位 LUT
- 2 个带边缘检测器的去毛刺滤波器
- 组合逻辑
- 1 个 4 位 LUT
- 串行通信
- 符合 I2C 协议
- 带有已定义 NVM OTP 初始状态的 16×8 RAM 存储器
- 管道延迟 – 16 级/3 路输出(组合功能宏单元的一部分)
- 可编程延迟
- 两个振荡器
- 可配置 25kHz 或 2MHz
- 25MHz 振荡器
- 上电复位 (POR)
- 模拟温度传感器
- 逻辑和混合信号电路
- 高度灵活的宏单元
- 回读保护(Read Lock)
- 电源
- 1.8V (±5 %) 至 5.0V (±10 %) VDD
- 环境工作温度范围:-40°C 至 +105°C
- 符合 RoHS 标准/无卤素
- 可用封装:20 引脚 STQFN:2.0mm x 3.0mm x 0.55mm,0.4mm 间距
描述
SLG46533-EV 提供一个体积小、低功耗元件,来实现常用的混合信号功能。 用户通过对非易失性存储器(NVM)进行编程来创建电路设计,以配置 SLG46533-EV 的互连逻辑、IO 引脚和宏单元。 这种高度通用的器件允许在非常細小而低功耗的单个集成电路中设计出各种混合信号功能。
产品参数
| 属性 | 值 |
|---|---|
| Nominal VDD | 1.71 - 5.5 |
| GPIOs (#) | 18 |
| ACMP Channels (#) | 4 |
| CNT/DLY (Max) (#) | 7 |
| Look-up Table (LUTs) | 25 |
| D Flip-flops (DFFs) (#) | 15 |
| Pipe Delay | 16-stage |
| # of Programable Delays (#) | 1 |
| Oscillator Type | Conf. OSC, Ring OSC |
| Temperature Sensor (ch) (#) | 1 |
| Temp. Range (°C) | -40 to +105°C |
| Interface | I2C |
| Memory Type | OTP |
封装选项
| Pkg. Type | Pkg. Dimensions (mm) | Lead Count (#) |
|---|---|---|
| TQFN | 2.0 x 3.0 | 20 |
产品对比
| SLG46533-E | SLG46533 | |
| Temp. Range (°C) | -40 to +105°C | -40 to +85°C |
应用
- 户外电子产品
- 工厂自动化
- 服务器和网络设备
- 充电器
当前筛选条件