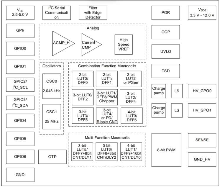
特性
- 2 个电源输入
- 2.5V (±8 %) 至 5.0V (±10 %) VDD
- 3.3V (±9 %) 至 12.0V (±10 %) VDD2
- 2 个高压大电流驱动 GPO
- 全桥驱动器选件
- 双/单半桥驱动器选件
- 转换速率模式:电机驱动器模式、预驱动器(MOSFET 驱动器)模式
- 睡眠功能
- 低 RDS(ON) 高边 + 低边电阻 = 0.4Ω
- 2A 峰值,每全桥 1.5A RMS(VDD2 = 5V,T = +25 °C)
- 2A 峰值,每半桥 GPO 1.5A RMS(VDD2 = 5V,T = +25 °C)
- 集成多重保护:过电流保护 (OCP)、短路保护、欠压锁定 (UVLO)、热关断 (TSD)
- SENSE 输入端连接电流比较器,用于电流控制
- 全桥故障信号指示灯:OCP、UVLO、TSD
- 电流感测比较器
- 动态 VREF 模式
- 高速通用 ACMP
- 模式:UVLO、OCP、TSD、电压监控器、电流监控器
- 电压基准源 (VREF) 输出
- 3 个多功能宏单元
- 2 个可选 DFF/LATCH/3 位 LUT + 8 位延迟/计数器
- 1 个可选 DFF/LATCH/ 4 位 LUT + 16 位延迟/计数器
- 9 个组合功能宏单元
- 2 个可选 DFF/LATCH 或 2 位 LUT
- 1 个可选图碼形发生器或 2 位 LUT
- 3 个可选 DFF/LATCH 或 3 位 LUT
- 1× 可选 DFF/LATCH 或 3 位 LUT 或 PWM 斩波器
- 1 个可选的管道延迟或纹波计数器或 3 位 LUT
- 1 个可选的 DFF/LATCH 或 4 位 LUT
- PWM 宏单元
- 灵活的 8 位/7 位 PWM 模式,具有占空比控制
- 16 个预设占空比寄存器,用于正弦波或自定义波形
- 串行通信
- I2C 协议接口
- 附加逻辑
- 带边缘检测器的去毛刺滤波器
- 振荡器 (OSC)
- 2.048kHz 振荡器
- 25MHz 振荡器
- 其他功能
- 上电复位 (POR)
- 一次性可编程存储器
- 工作温度:-40°C 至 +85°C
- 符合 RoHS 规范 / 无卤素
- 封装
- 20 引脚 STQFN:2mm × 3mm × 0.55mm,0.4mm 间距
描述
SLG47104 为常用的混合信号和桥接功能提供了一个小型、低功耗的元件。 用户通过对一次性可编程 (OTP) 非易失性存储器 (NVM) 进行编程来配置 SLG47104 的互连逻辑、IO 引脚、高压引脚和宏单元,从而创建电路设计。 可配置的 PWM 宏单元与特殊的高压输出相结合,可用于电机驱动或负载驱动应用。 采用高压引脚,支持用户设计智能电平转换器或驱动高压大电流负载。
产品参数
| 属性 | 值 |
|---|---|
| Nominal VDD | 2.3 - 5.5 |
| VDD2 (V) | 3 - 13.2 |
| GPIOs (#) | 10 |
| Special Features | 1x H-/2x Half-Bridge, PWM, CCMP |
| ACMP Channels (#) | 1 |
| CNT/DLY (Max) (#) | 3 |
| LUTs (Max) (#) | 12 |
| D Flip-flops (DFFs) (#) | 10 |
| Pipe Delay | 16-stage |
| Oscillator Type | LF OSC, Ring OSC |
| Interface | I2C |
| Memory Type | OTP |
| Temp. Range (°C) | -40 to +85°C |
封装选项
| Pkg. Type | Pkg. Dimensions (mm) | Lead Count (#) | Pitch (mm) |
|---|---|---|---|
| TQFN | 2.0 x 3.0 | 20 | 0.4 |
产品对比
| SLG47104 | SLG47105 | SLG47115 | SLG47115-E | SLG47105-E | |
| GPIOs (#) | 10 | 12 | 10 | 10 | 12 |
| ACMP Channels (#) | 1 | 2 | 2 | 2 | 2 |
| Special Features | 1x H-/2x Half-Bridge, CCMP, PWM | 2x CCMP, 2x H-/4x Half-Bridge, 2x PWM, Int&Diff Amp | 1x H-/2x Half-Bridge, 2x PWM, CCMP, Int&Diff Amp | 1x H-/2x Half-Bridge, 2x PWM, CCMP, Int&Diff Amp | 2x CCMP, 2x H-/4x Half-Bridge, 2x PWM, Int&Diff Amp |
| Temp. Range (°C) | -40 to +85°C | -40 to +85°C | -40 to +85°C | -40 to +105°C | -40 to +105°C |
应用
- 智能锁、个人计算机和服务器
- 消费电子
- 电机驱动器
- 玩具
- HV MOSFET 驱动器
- 视频安防摄像机
- LED 矩阵调光器
当前筛选条件
加载中
筛选
软件与工具
样例程序
模拟模型
Renesas GreenPAK ICs integrate analog and digital functions on one chip, reducing cost, size, and power. Design custom ICs in minutes with GreenPAK Designer for faster, flexible production.